相隔10多年後日前Mazda宣布轉子引擎回歸,不過不是跑車,而是作為增程引擎的MX-30 e-Skyactiv R-EV正式下線,但近日外媒報導指出,Mazda於六月有在日本申請六項有關轉子引擎專利,顯示出Mazda不甘只是讓轉子引擎作為增程如此簡單。

![]()
轉子引擎可說是Mazda招牌象徵,但無奈礙於排汙、養護等問題,在RX-8退役後也隨之退出車壇,不過在此之後仍不斷有轉子引擎消息,最後確定將會轉換身分改擔任MX-30 e-Skyactiv R-EV增程引擎,而該車也在日前正式下線。

10多年後轉子引擎改以MX-30 e-Skyactiv R-EV增程引擎身分回歸。 
10多年後轉子引擎改以MX-30 e-Skyactiv R-EV增程引擎身分回歸。 
![]()
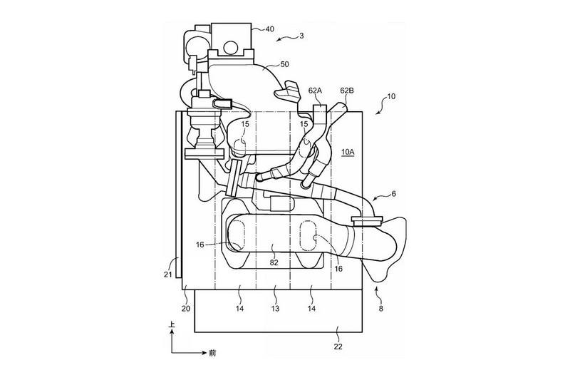
然而除了車迷其實Mazda也不甘心只將轉子引擎屈就於增程用途,具外媒報導在六月時Mazda有向日本專利局申請六項轉子引擎相關專利。其中三項是轉子引擎不同缺口設計,透過不同形狀來達到不同點火效果,另外三項則是針對廢氣再循環。然而除此六項專利,在此之前Mazda也有申請採油電系統的轉子引擎跑車專利,看來Mazda仍沒放棄讓轉子引擎跑車重返車壇的想法。

Mazda有申請六項關於轉子引擎專利。 
Mazda有申請六項關於轉子引擎專利。 
![]()
我是廣告 請繼續往下閱讀






