名嘴溫朗東日前踢爆,國民黨立法院黨團總召傅崐萁提供藍營候選人競選小物,之後傅崐萁當選國民黨立院黨團總召,質疑他恐涉及行賄,藍營民代則恐涉受賄罪。查閱監察院政治獻金公開資料,2024大選中,包括總統候選人侯友宜在內,共有20名藍營政治人物都曾購買花蓮縣「戰天下」公司文宣品,也有不少有收到文宣品的民代未在政治獻金公開資料中,遭綠質疑是買還是送?國民黨立委恐涉「集體造假」。
傅崐萁去年被爆以「好禮3選2」模式,向全台40位國民黨和無黨籍候選人協調提供指甲刀修容組、帽子、環保提袋等優惠競選小物,當時黨內解讀為後續立法院正、副院長選舉提前蓄積量能。
不過,溫朗東日前翻出政治人物政治獻金殘產申報,赫然發現,不少藍委都有幾筆位於花蓮的「戰天下有限公司」的支出,且都是購買競選小物。再細查發現,該公司「戰天下有限公司」負責人名叫蘇意舜,跟2012年因為違法經營民宿而被彈劾的「花蓮縣政府觀光處處長蘇意舜」同名同姓。
溫朗東質疑,如果這家公司是為了幫傅崐萁發送禮品、收買藍委而成立的,那要問的是,這些禮品哪裡來的?中國來的嗎?有沒有花錢買?有沒有免費贈送給藍委?為什麼有些藍委收到了不敢用?
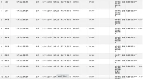
根據監察院政治獻金公開查閱平台資料,2024大選中,包括總統候選人侯友宜在內,共有20名藍營政治人物,分別為游淑慧、李彥秀、王鴻薇、羅廷瑋、鄭俊雄、阮厚爵、徐欣瑩、鄭正鈐、葉元之、洪孟楷、林德福、李眉蓁、魯明哲、呂玉玲、陳超明、黃明賢、黃琤婷、黃仁、孔文吉等人,向前述2間公司支出數千元至數十萬元不等獻金,合計805萬2500元,用途為「製作競選物品或宣傳廣告費用」、「租用廣告看板或車體廣告費用」等。
民進黨立委吳思瑤今天受訪時就說,目前有最大的問題已經浮現,鍾小平說修容組是「被送」,但多數的國民黨委員在申報上是填「支出」,實際上,應當申報的是「收入受捐贈」,而不是宣傳支出。這恐怕涉及了國民黨立委的「集體造假」,相關單位應立即徹查嚴辦。

▲不少藍營民代都透過戰天下購買競選小物。(圖/翻攝自政治獻金公開平台) 
▲國民黨立委呂玉玲競選時曬出採購單據釋疑,金額與政治獻金申報支出金額相同。(圖/呂玉玲辦公室提供)
我是廣告 請繼續往下閱讀
不過,溫朗東日前翻出政治人物政治獻金殘產申報,赫然發現,不少藍委都有幾筆位於花蓮的「戰天下有限公司」的支出,且都是購買競選小物。再細查發現,該公司「戰天下有限公司」負責人名叫蘇意舜,跟2012年因為違法經營民宿而被彈劾的「花蓮縣政府觀光處處長蘇意舜」同名同姓。
溫朗東質疑,如果這家公司是為了幫傅崐萁發送禮品、收買藍委而成立的,那要問的是,這些禮品哪裡來的?中國來的嗎?有沒有花錢買?有沒有免費贈送給藍委?為什麼有些藍委收到了不敢用?
根據監察院政治獻金公開查閱平台資料,2024大選中,包括總統候選人侯友宜在內,共有20名藍營政治人物,分別為游淑慧、李彥秀、王鴻薇、羅廷瑋、鄭俊雄、阮厚爵、徐欣瑩、鄭正鈐、葉元之、洪孟楷、林德福、李眉蓁、魯明哲、呂玉玲、陳超明、黃明賢、黃琤婷、黃仁、孔文吉等人,向前述2間公司支出數千元至數十萬元不等獻金,合計805萬2500元,用途為「製作競選物品或宣傳廣告費用」、「租用廣告看板或車體廣告費用」等。
民進黨立委吳思瑤今天受訪時就說,目前有最大的問題已經浮現,鍾小平說修容組是「被送」,但多數的國民黨委員在申報上是填「支出」,實際上,應當申報的是「收入受捐贈」,而不是宣傳支出。這恐怕涉及了國民黨立委的「集體造假」,相關單位應立即徹查嚴辦。

