貓奴真的拚了!CAT車牌系列今(12)日中午正式決標,最熱門的車牌「CAT-8888」多位貓奴前後出價130次瘋狂搶標,最終以57萬6000元高價決標,而這次CAT系列車牌更讓國庫進帳豐厚,全台貓奴合計花了2千萬元新台幣買下CAT身分證車牌!
▲CAT車牌系列今(12)日中午正式決標,最熱門的車牌「CAT-8888」最終以57萬6000元被標得。(圖/監理站) CAT車牌最貴57萬!貓奴搶身分證車牌出價毫不手軟
CAT車牌過去曾一度被列為不雅代號,但經過政策調整,交通部公路局在2025年10月31日正式宣布開放,將釋出2千多面CAT車牌。隨後台北市區監理所基隆監理站表示,自用小客貨車「CAT」代碼首次標售,標售區間0001至9999,標售時間於11月10日中午12時起至11月12日中午12時止。
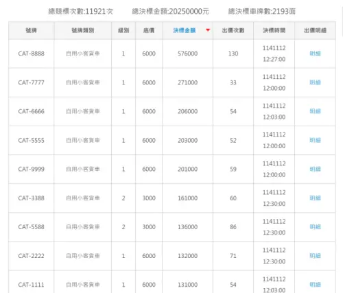
「貓奴身分證」車牌公開標售之後,瞬間引發競標熱潮,根據監理服務網最終公告顯示,最夯的車牌號碼是「CAT-8888」,一共吸引貓奴們出價130次,最終決標時間在12點27分,得主出價金額高達57萬6000元。
▲「CAT」代碼最高價車牌由「CAT-8888」拿下冠軍,最終決標金額高達57萬6000元。(圖/監理服務網) 第二高價的車牌則是「CAT-7777」,也吸引33次出價,價格來到27萬1千元。隨後的CAT-6666則是20萬6000元、CAT-5555也標到20萬3000元,CAT-9999則是20萬1000元,為突破20萬元的5張CAT車牌。
本次2193面「CAT」車牌開放競標,最終吸引全台貓奴出手競價高達1萬1921次,總決標金額衝上2025萬元,這一波全台貓奴們下重本搶身分證,也見證了這些主人的經濟實力!
▲不久之後就能在台灣街頭看到CAT開頭的車牌,一眼就能確定這些車主絕對是忠實貓奴。(圖/記者潘毅攝) 不過,這次「CAT-8888」雖然標到57萬多元才決標,但還不是台灣歷史上最貴車牌,過去台北市監理所車牌「8888-88」,在2012年4月被358.9萬元標下,而更貴的「AMG-8888」,則是2014 年 11 月 26 日,在臺南監理站以380萬元天價標出。
我是廣告 請繼續往下閱讀
CAT車牌過去曾一度被列為不雅代號,但經過政策調整,交通部公路局在2025年10月31日正式宣布開放,將釋出2千多面CAT車牌。隨後台北市區監理所基隆監理站表示,自用小客貨車「CAT」代碼首次標售,標售區間0001至9999,標售時間於11月10日中午12時起至11月12日中午12時止。
「貓奴身分證」車牌公開標售之後,瞬間引發競標熱潮,根據監理服務網最終公告顯示,最夯的車牌號碼是「CAT-8888」,一共吸引貓奴們出價130次,最終決標時間在12點27分,得主出價金額高達57萬6000元。
本次2193面「CAT」車牌開放競標,最終吸引全台貓奴出手競價高達1萬1921次,總決標金額衝上2025萬元,這一波全台貓奴們下重本搶身分證,也見證了這些主人的經濟實力!