大家印象當中的手排車通常都是性能車款,但其實有些地區的入門車輛都還會有手排的配置,這是因為比較便宜的關係,而隨著自排變速箱的普及跟價格越趨便宜,入門的手排車型也漸漸少了,因此三個踏板通常都被認為是性能運動的象徵,而隨著電動化興起即將消逝的手排變速箱,現在因為Toyota的關係又死灰復燃了。

我是廣告 請繼續往下閱讀
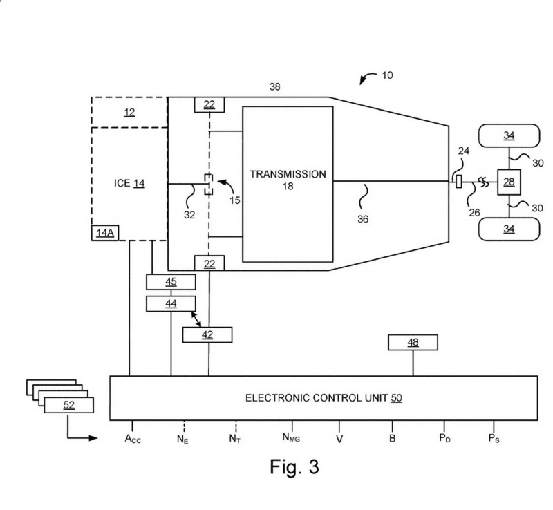
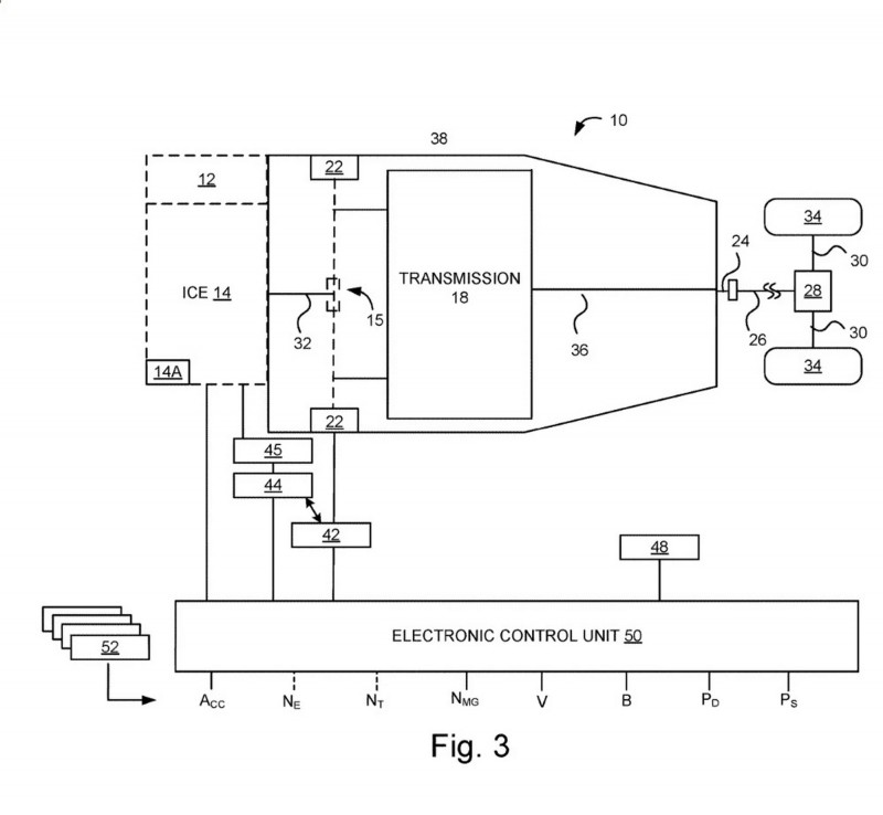
手排變速箱在車輛步入電動化之後即將消失,不過Toyota的專利卻呈現了不同的可能性。
手排變速箱在車輛步入電動化之後即將消失,不過Toyota的專利卻呈現了不同的可能性。
這項專利是Toyota在2021年8月的時候提交,可是直到今年2月才進行公布,該專利的內容是聚焦在離合器的管理部分,現在整套離合器系統還包含了ECU電腦控制接合,當然這套系統也會與車輛的引擎、電動馬達共同作業,如此一來才可以計算出目前油與電的輸出要怎麼切換,車輛在滑行以其起步的時候也會介入離合器的接合,但一切的作動邏輯依舊令人感到好奇,希望Toyota可以真的推出這套產品讓所有人體驗一下。

而且專利文件當中還提到有一個特別的模式是讓電腦完全不介入操作,離合器的接合將會全部由駕駛控制,而純電行駛過程中的換檔也令人納悶會有什麼感覺,總之整套系統都讓人期待,而Toyota其實也還有著純電汽車的手排變速箱專利,這也讓人看得出來他們真的想要把手排樂趣延續下去,即便來到電動化的市場當中,依然保有強大的吸引力讓車迷愛上他們。

全新的專利說明了油電手排的可能性,但目前只是在專利申請階段,會不會成真還是個問號。
全新的專利說明了油電手排的可能性,但目前只是在專利申請階段,會不會成真還是個問號。