根據最新公布的專利申請書,蘋果 (AAPL-US) 正申請一款混合 OLED(有機發光二極體)和 QLED(量子點發光二極體)的「混合」顯示器專利,反映了蘋果欲在所有領域實現效能最大化的願望。
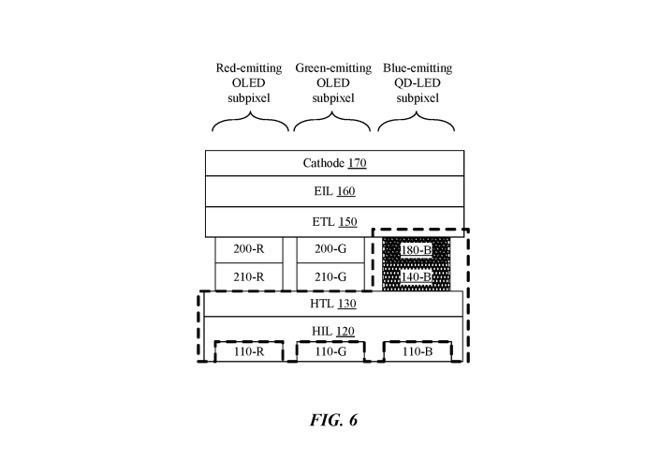
該份美國專利書編號 no. 20,190,131,356,描述了具有 OLED 子像素和 QLED 子像素的「串聯混合像素」,以及各種所需的傳輸層和陰極。
基本上,QLED 擁有節能效率的優勢,OLED 擁有快速反應時間的優勢,一旦結合這兩項技術,蘋果認為可以製造出高影像品質且消耗更少電源的顯示器。這對於智慧型手機與智慧手錶產品都非常有利。
量子點理論上可以打造比 OLED 更薄的顯示器,以及更簡化的製程,真正的量子點顯示器還具有高達 1000ppi 的高像素密度,比 Retina 等級的顯示器所需密度還要多幾倍,且基於蘋果的混合發明,OLED 本身回應速度也將提升。
根據蘋果最新申請書,OLED 本身雖有回應快速和高功率等優點,但 QLED 潛在效率更高。
蘋果在 2018 年 12 月提出原始專利,幾位發明者均為其背書,當時他們均在美國加州,頭號人物就是先前在 QD Vision 負責量子點工作的 Jonathan Steckel,他於 2014 年加入蘋果,擔任「新興顯示器技術部門首席技術專家」,爾後今年移轉至法國 Grenoble 工廠,負責監督「相機核心技術 & 顯示器工程。」
該 app 前一版本為 2017 年 8 月發布,蘋果也為量子點相關技術申請了數個其他專利,例如 MEMS 快門控制和背光調光等概念。

行動設備中三大耗電的零件是顯示器、主要處理器和無限晶片,在蘋果更深植穿戴市場之際,降低能耗是致勝關鍵。
除了 Apple Watch 之外,外界認為蘋果正在努力打造一款增強實境 (AR) 頭盔,最快渴望 2020 年出貨。第一代 AR 頭盔的多數處理過程可能要靠 iPhone 配對,但蘋果最終仍需高效能的鏡片以確保電池壽命可撐一整天。
另一種即將問世的顯示器技術是 microLED,據悉是富士康加強開發的項目,以期獲得蘋果未來 iPhone 的訂單。MicroLED 面板有自己的背光,可以再次改善效能,其他優於 OLED 之處包括圖片亮度更高、會導向失敗的易感性低一些。然而,這還需要一段時間才能符合經濟性的大規模製造。
更多精彩內容請至 《鉅亨網》 連結>>
我是廣告 請繼續往下閱讀
基本上,QLED 擁有節能效率的優勢,OLED 擁有快速反應時間的優勢,一旦結合這兩項技術,蘋果認為可以製造出高影像品質且消耗更少電源的顯示器。這對於智慧型手機與智慧手錶產品都非常有利。
量子點理論上可以打造比 OLED 更薄的顯示器,以及更簡化的製程,真正的量子點顯示器還具有高達 1000ppi 的高像素密度,比 Retina 等級的顯示器所需密度還要多幾倍,且基於蘋果的混合發明,OLED 本身回應速度也將提升。
根據蘋果最新申請書,OLED 本身雖有回應快速和高功率等優點,但 QLED 潛在效率更高。
蘋果在 2018 年 12 月提出原始專利,幾位發明者均為其背書,當時他們均在美國加州,頭號人物就是先前在 QD Vision 負責量子點工作的 Jonathan Steckel,他於 2014 年加入蘋果,擔任「新興顯示器技術部門首席技術專家」,爾後今年移轉至法國 Grenoble 工廠,負責監督「相機核心技術 & 顯示器工程。」
該 app 前一版本為 2017 年 8 月發布,蘋果也為量子點相關技術申請了數個其他專利,例如 MEMS 快門控制和背光調光等概念。

除了 Apple Watch 之外,外界認為蘋果正在努力打造一款增強實境 (AR) 頭盔,最快渴望 2020 年出貨。第一代 AR 頭盔的多數處理過程可能要靠 iPhone 配對,但蘋果最終仍需高效能的鏡片以確保電池壽命可撐一整天。
另一種即將問世的顯示器技術是 microLED,據悉是富士康加強開發的項目,以期獲得蘋果未來 iPhone 的訂單。MicroLED 面板有自己的背光,可以再次改善效能,其他優於 OLED 之處包括圖片亮度更高、會導向失敗的易感性低一些。然而,這還需要一段時間才能符合經濟性的大規模製造。
更多精彩內容請至 《鉅亨網》 連結>>